联想也有智能眼镜采用骨传导技术可私密通话
谷歌眼镜可以说是当前最热门的智能可穿戴设备,而除了谷歌之外,许多公司似乎也瞄准了这一领域。之前有媒体报道三星将在9月的IFA上推出自己的智能眼镜,现在看来来自中国的联想公司也准备进军智能眼镜市场。

根据国外媒体报道,联想公司向美国专利和商标局递交一份关于智能眼镜设备的专利最近被外界曝光。这项专利联想在2013年提交给美国专利局申请。从专利文档的描述来看,这仍然是一款辅助智能手机、平板电脑的设备。
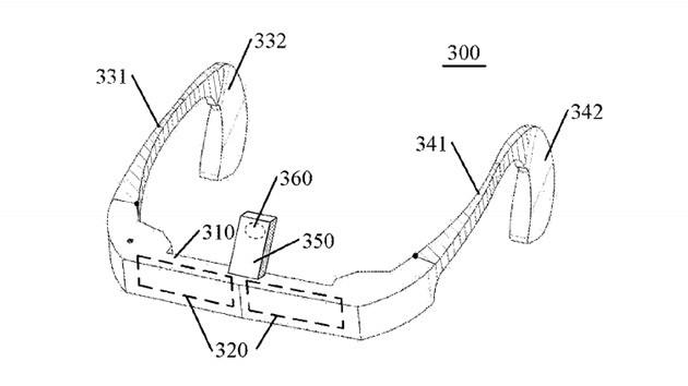
根据专利介绍来看,该专利名为“电子设备和音频捕捉方式”,设备的外形类似于眼镜,通过骨传导技术用于录音,并向用户反馈相关的内容。设备的中间有个凸起的部分,当你佩戴时,这块是直接架在你鼻子上的,这样可以更直接地利用骨传导技术捕捉声音,因此即使很小声的说话,对方也能听得清。
在可穿戴领域中骨传导技术并不新鲜,联想的骨传导模块位于鼻尖处,便于收集用户声音。通过骨传导模式意味着不必与环境噪音对比进行降噪处理,并基于该特性可以提供隐私程度更高的秘密网络通话,用户不需要太大声对方就能清晰的听到。
综合来看,联想公司申请的这项专利看上与其说是一款可穿戴设备,不如说更像是一款录音或者录像设备。目前还不清楚这项专利是否已经获批、以及该专利何时可以投入市场。


